Новости, обзоры и акции
Новости, обзоры и акции
|
|
|
|
|
|
(0)
|
Шумоглушитель крышный HSDV
Описание HSDV: Основная функция шумоглушителей HSDV является снижение уровня шума в воздуховоде. Применяется вместе с вентиляторами DVV/120, DVV/F400 и DVV/F600.
Технические характеристики HSDV
|
HSDV |
Для вентиляторов DVV/F400, F600, DVV/120, DVV-Ex |
|
HSDV |
DVV 800D4-M, P, 4-8-M, P. |
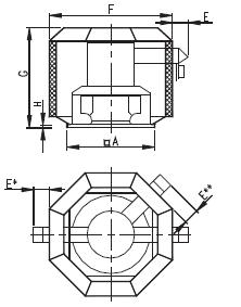
Размеры HSDV, мм
|
HSDV |
A |
E |
F |
G |
m кг |
ml кг |
|
|
1023 |
200 |
1516 |
1353 |
80 |
54 |

Конструкция:
Крышный восьмигранный шумоглушитель HSDV сделан из алюминиевого сплава ALMg3. Он оборудован шумопоглащающим слоем изоляции из минераловаты со стекловолоконным покрытием с толщиной в диапазоне
Монтаж:
Шумоглушитель HSDV устанавливается вертикально на отверстие, через которое выходит воздух с помощью монтажной крышной пластиной.
Примечание 1.
m (кг) - масса самого шумоглушителя HSDV, без вентилятора.
Примечание 2.
ml (кг) - дополнительное увеличение массы при установке шумоглушителя HSDV вместо стандартного корпуса вентилятора.
Примечание 3.
E* только для 4-полюсных двигателей 1000-P (2 воздуховода системы охлаждения двигателя).
Примечание 4.
E** для DVV 400 - 630 (воздуховод системы охлаждения двигателя под углом 45°).
Примечание 5.
По отдельному заказу поставляются заслонки FSL, предназначенные для шумоглушителей HSDV (соответственно, для вентиляторов DVVI), устанавливаемых на зданиях со снеговой нагрузкой.
Примечание 6.
DVVI-Ex без воздуховодов системы охлаждения, клеммная коробка крепится к корпусу.
|
|
|
|
|
|
(0)
|
|
|
|
|
|
|
(0)
|
|
|
|
|
|
|
(0)
|
Новости, обзоры и акции
