Новости, обзоры и акции
Новости, обзоры и акции
|
|
|
|
|
|
(0)
|
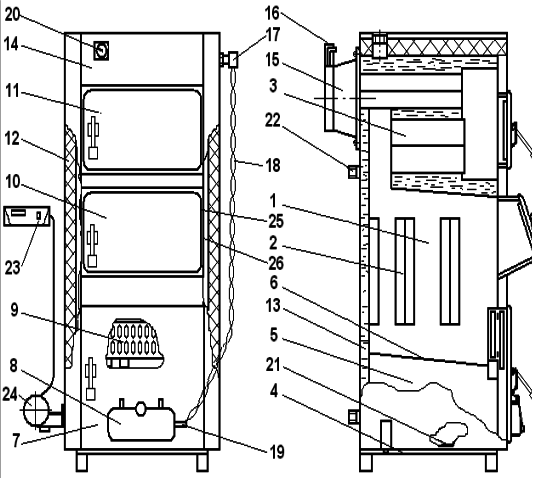
Имеет мощность 14 кВт. Котел на твердом топливе модели АОТВ- 14 В предназначен для тепло- и водоснабжения, приготавливания горячей воды для общебытовых нужд.
Котел твердотопливный модели Корди АОТВ- 14 В имеет мощность 14 кВт. Укомплектован котел теплообменником из стали. Сталь – обладает больше теплоотдачей, соответственно вода в нем будет нагреваться намного быстрее. Твердотопливный котел изготовлен из теплообменника и прямоугольной топки. Снизу топочная камера имеет специальную водяную колосниковую решетку. В топке расположены специальные каналы, это позволяет котлу эффективно работать в режиме сниженной мощи и тяги. На нижней двери прикреплена воздушная заслонка, которая регулируется болтом, она регулирует количество второстепенного воздуха, который подается в топку. Котел на твердом топливе модели АОТВ- 14 В предназначен для тепло- и водоснабжения, приготавливания горячей воды для общебытовых нужд, снабжен системами водного отопления площей до 140 м2. Для котла топливом выступает каменный уголь, дрова, антрацит ДСТУ 3472. Объем загрузки топлива 23 л.
Условные обозначения |
|||
|
1. |
Топка. |
15. |
Дымоход. |
|
2. |
Распылительные каналы. |
16. |
Шибер. |
|
3. |
Конвективный газоход. |
17. |
Регулятор тяги*. |
|
4. |
Дно. |
18. |
Цепочки*. |
|
5. |
Зольная камера. |
19. |
Державка. |
|
6. |
Колосник. |
20. |
Термометр. |
|
7. |
Нижние дверцы. |
21. |
Зольник. |
|
8. |
Воздушная заслонка. |
22. |
Патрубок горячего водоснабжения. |
|
9. |
Дверцы топки. |
23. |
Автоматика**. |
|
10. |
Дверцы загрузки. |
24. |
Вентилятор**. |
|
11. |
Дверцы газохода. |
25. |
Гайка регулирования. |
|
12. |
Теплоизоляция. |
26. |
Контргайка. |
|
13. |
Водяная рубашка. |
|
* - при использовании в аппарате регулятора тяги. |
|
14. |
Декоративный кожух. |
|
** - при использовании в аппарате автоматики. |
Бытовой твердотопливный котел Корди АОТВ- 14 В |
||
|
|
||
Параметры |
Ед. изм. |
Корди АОТВ |
|
АОТВ- 14 В |
||
|
Тапловая мощность |
кВт |
14 |
|
Площадь отопления |
м2 |
140 |
|
КПД |
% |
80 |
|
Рабочее давление в системе отопления |
кгс/см2 |
2,0 |
|
Система отопления,резьба |
|
G1 1/2" |
|
Диаметр дымохода |
мм |
150 |
|
Висота дымохода, мин. |
м |
5 |
|
Габаритные размеры, В*Ш*Г |
мм |
1003*535*580 |
|
Размеры камеры сгорания, В*Ш*Г |
мм |
440*390*320 |
|
Размеры загрузочного окна |
мм |
320*190 |
|
Объём воды в котле |
л |
46 |
|
Максимальная загрузка топлива |
л |
28 |
|
Второй контур |
есть |
|
|
Масса изделия |
кг |
161 |
|
Минимально необходимое количество воды в системе отопления |
л |
140 |
|
Расчетное количество дров твердых пород в сезон |
м3 |
10 |
|
|
|
|
|
|
(0)
|
|
|
|
|
|
|
(0)
|
|
|
|
|
|
|
(0)
|
|
|
|
|
|
|
(0)
|
Новости, обзоры и акции

