Новости, обзоры и акции
Новости, обзоры и акции
|
|
|
|
|
|
(0)
|
Циклон ОТИ-400 широко применяем в пищевой промышленности, а также на предприятиях, которые занимаются переработкой зерновых культур.
ПРИМЕЧАНИЕ: цены на циклоны ОТИ даны без стоимости бункера, постамента и пылевого затвора (стоимость рассчитывается отдельно)
Циклон ОТИ-400 характеризируется весьма высокой эффективностью очистки воздуха от зерновых пылей и иных видов отходов, образующихся во время обработки зерна. Эффективность очистки воздушных потоков составляет от 97 до 98% в зависимости от характера и размеров загрязняющих элементов. Циклон ОТИ-400 устойчив к колебаниям скорости воздушных потоков на входе в устройство, что важно для систем, работающих в переменном режиме. Эти значения обуславливают высокоэффективную работу промышленного пылеуловителя Циклон ОТИ-400.
Производительность циклона, м?/ч – 850. Оптимальная скорость в циклоне, м/сек – 4, оптимальная скорость на входе, м/сек: 10-14.
Для качественной работы циклонов пылевыгружные устройства должны иметь небольшие размеры, особенно высоту, а также герметичны, способны работать при пониженном давлении в бункере, на противодавлении, а главное - безотказны в действии.
Более подробную информацию о циклонах ЦР смотрите ЗДЕСЬ!

Характеристики |
|
|
№ Циклона |
ОТИ-400 |
|
Производительность по воздуху |
850 м3/ч |
|
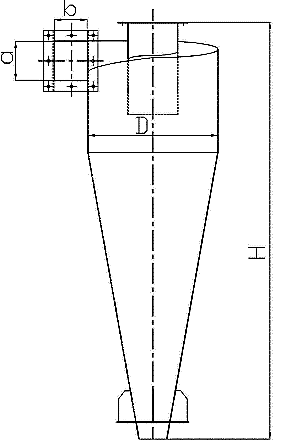
Диаметр |
400 мм |
|
Высота |
1240 мм |
|
Размер патрубков |
180х90 мм |
|
Масса |
25 кг |
|
|
|
|
|
|
(0)
|
|
|
|
|
|
|
(0)
|
|
|
|
|
|
|
(0)
|
|
|
|
|
|
|
(0)
|
Новости, обзоры и акции
