Новости, обзоры и акции
Новости, обзоры и акции
|
|
|
|
|
|
(0)
|
Описание, камера статического давления PRG 600-200:
Камеры PRG производят в качестве дополнительного устройства к вентиляционным решеткам для гашения шума, уменьшения давления и для возможности управлять и замерять поток воздуха.
Конструкция, камера PRG 600-200 Systemair:
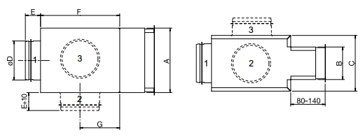
Стальная оцинкованная камера статического давления PRG оснащена шибером, на котором указан регулировочный коэффициент К и соединительными муфтами, которые оснащены резиновым уплотнителем для надежного герметичного соединения с воздуховодом. Изнутри корпус изолирован.
Технические характеристики, камера PRG 600-200:
|
|
|||||||
|
|
A |
B |
C |
?D |
E |
F |
G |
|
PRG 600-200 |
600 |
200 |
370 |
314 |
55 |
420 |
210 |
Монтаж, камера статического давления PRG 600-200:
Камеры статического давления PRG жестко монтируются при помощи шпилек.
|
|
|
|
|
|
(0)
|
|
|
|
|
|
|
(0)
|
Новости, обзоры и акции

