Время работы:
ПН-ПТ 8-21
СБ-ВС 10-16

 Заказать звонок
RU
Для проектировщиков, монтажников и строителей эксклюзивные условия на товары, работы и услуги. Звоните, договоримся!

Циклоны СИОТ-М и СИОТ-М1

Циклоны СИОТ-М и СИОТ-М1

Циклоны СИОТ-М для сухой пыли

Наименование

Производительность,
м3

Размеры в мм

Масса,
кг

Цена, грн. с
НДС

          D                   H

Циклон СИОТ-М-1

1500

550

2075

138

5409

Циклон СИОТ-М-2

3000

700

2895

248

9722

Циклон СИОТ-М-3

4500

800

3479

357

13495

Циклон СИОТ-М-4

6000

870

3950

450

17010

Циклон СИОТ-М-5

7500

940

4302

556

21016

Циклон СИОТ-М-6

8500

980

4576

675

25515

Циклон СИОТ-М-7

10000

1020

4906

760

28728

Циклон СИОТ-М-8

12500

1100

5423

945

35721

Циклон СИОТ-М-9

15000

1180

5944

1125

42525

Циклон СИОТ-М-10

17500

1240

6334

1285

48573

Цены на циклоны СИОТ-М даны без стоимости бункера, постамента и пылевого затвора (стоимость рассчитывается отдельно).

Аэродинамические характеристики циклонов СИОТ-М

М-аэродинамика

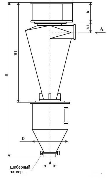
Схема установочных размеров к циклонам СИОТ-М

Циклон СИОТ-М (модернизированный) повышенной эффективности – общий вид

 М

1 - раскручиватель потока; 2 - выхлопная труба; 3 - цилиндрическая вставка; 4 - штырь; 5 - диск; 6 - входной патрубок; 7 - фланец; 8 - коническая манжета; 9 - бункер; 10 – затвор.

Циклон СИОТ-М с шиберным затвором (СИОТ-М-Ш №№ 1...10)

Циклон СИОТ-М с затвором-мигалкой (СИОТ-М-М №№ 1...10)

 М-Ш

 М-М

 М-Ш_М

Таблица установочных размеров к циклонам СИОТ-М

Циклон

Размеры в мм

n,
шт

D

D1

D2

d

А

А1

В

В1

В2

В3

b

L

L1

H

H1

h

h1

СИОТ-М-Ш-1

550

200

170

170

263

194

700

345

310

-----

136

870

700

2075

1320

250

100

6

СИОТ-М-М-1

705

2124

СИОТ-М-Ш-2

700

275

245

220

380

280

1015

495

445

-----

195

1118

1015

2895

1945

360

150

СИОТ-М-М-2

775

2944

СИОТ-М-Ш-3

800

330

300

270

465

342

1245

610

550

-----

240

1301

1245

3479

2404

440

180

8

СИОТ-М-М-3

840

3528

СИОТ-М-Ш-4

870

375

345

300

535

394

1430

700

630

-----

275

1351

1430

3950

2785

505

200

СИОТ-М-М-4

900

3999

СИОТ-М-Ш-5

940

415

385

360

597

440

1595

780

700

-----

307

1490

1595

4302

3052

565

230

10

СИОТ-М-М-5

980

4351

СИОТ-М-Ш-6

980

440

410

380

638

468

1687

830

750

-----

328

1710

1710

4576

3222

600

225

СИОТ-М-М-6

1930

4625

СИОТ-М-Ш-7

1020

475

445

410

692

508

1830

900

815

-----

355

1856

1856

4906

3551

650

267

СИОТ-М-М-7

2040

4955

СИОТ-М-Ш-8

1100

525

495

450

770

565

2036

1001

905

-----

395

2064

2064

5423

3968

725

297

СИОТ-М-М-8

2170

5472

СИОТ-М-Ш-9

1180

575

545

490

848

623

2241

1101

1000

-----

435

2273

2273

5944

4384

800

327

СИОТ-М-М-9

2290

5993

СИОТ-М-Ш-10

1240

615

585

530

910

665

2405

1182

1070

-----

470

2440

2440

6334

4699

860

350

СИОТ-М-М-10

2410

6383

 

Циклоны СИОТ-М1 для сухой пыли

Наименование

Производительность,
м3

Размеры в мм

Масса,
кг

Цена, грн. с
НДС

          D                   H

Циклон СИОТ-М1-1

2250

550

2075

143

5606

Циклон СИОТ-М1-2

4500

700

2895

257

10074

Циклон СИОТ-М1-3

6750

800

3479

370

13986

Циклон СИОТ-М1-4

9000

870

3950

468

17690

Циклон СИОТ-М1-5

11250

940

4302

578

21848

Циклон СИОТ-М1-6

12750

980

4576

690

26082

Циклон СИОТ-М1-7

15000

1020

4906

780

29484

Циклон СИОТ-М1-8

18750

1100

5423

962

36364

Циклон СИОТ-М1-9

22500

1180

5944

1145

43281

Циклон СИОТ-М1-10

26500

1240

6334

1310

49518

Цены на циклоны СИОТ-М даны без стоимости бункера, постамента и пылевого затвора (стоимость рассчитывается отдельно).

Аэродинамические характеристики циклонов СИОТ-М1

М1-аэродинамика 

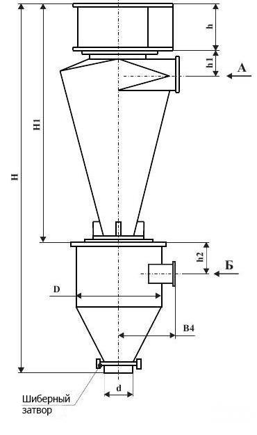
Схема установочных размеров к циклонам СИОТ-М1

Циклон СИОТ-М1 (модернизированный) повышенной эффективности и производительности – общий вид

 М1

1 - раскручиватель потока; 2 - выхлопная труба; 3 - цилиндрическая вставка; 4 - штырь; 5 - диск; 6 - входной патрубок; 7 - фланец; 8 - коническая манжета; 9 - бункер; 10 - затвор; 11 - закручиватель дополнительного потока; 12 - полая вставка; 13 - люк.

Циклон СИОТ-М1 с шиберным затвором (СИОТ-М1-Ш №№ 1...10)

Циклон СИОТ-М1 с затвором-мигалкой (СИОТ-М1-М №№ 1...10)

 М1-Ш

 М1-М

 М1-Ш_М

Таблица установочных размеров к циклонам СИОТ-М1

Циклон

Размеры в мм

n,
шт

D

D1

D2

d

А

А1

A2

a

В

В1

В2

В3

B4

b

b1

L

L1

H

H1

h

h1

h2

СИОТ-М1-Ш-1

550

200

170

170

263

194

108

130

700

345

310

-----

333

103

136

870

700

2075

1320

250

100

171

6

СИОТ-М1-М-1

705

2124

СИОТ-М1-Ш-2

700

275

245

220

380

280

142

165

1015

495

445

-----

383

134

195

1118

1015

2895

1945

360

150

226,5

СИОТ-М1-М-2

775

2944

СИОТ-М1-Ш-3

800

330

300

270

465

342

170

190

1245

610

550

-----

453

161

240

1301

1245

3479

2404

440

180

260

8

СИОТ-М1-М-3

840

3528

СИОТ-М1-Ш-4

870

375

345

300

535

394

188

210

1430

700

630

-----

503

178

275

1351

1430

3950

2785

505

200

288,5

СИОТ-М1-М-4

900

3999

СИОТ-М1-Ш-5

940

415

385

360

597

440

217

240

1595

780

700

-----

528

205

307

1490

1595

4302

3052

565

230

342

10

СИОТ-М1-М-5

980

4351

СИОТ-М1-Ш-6

980

440

410

380

638

468

270

468

1687

830

750

-----

553

236

328

1710

1710

4576

3222

600

225

337,5

СИОТ-М1-М-6

1930

4625

СИОТ-М1-Ш-7

1020

475

445

410

692

508

290

508

1830

900

815

-----

583

254

355

1856

1856

4906

3551

650

267

366,5

СИОТ-М1-М-7

2040

4955

СИОТ-М1-Ш-8

1100

525

495

450

770

565

310

565

2036

1001

905

-----

603

276

395

2064

2064

5423

3968

725

297

397,5

СИОТ-М1-М-8

2170

5472

СИОТ-М1-Ш-9

1180

575

545

490

848

623

330

623

2241

1101

1000

-----

653

302

435

2273

2273

5944

4384

800

327

430,5

СИОТ-М1-М-9

2290

5993

СИОТ-М1-Ш-10

1240

615

585

530

910

665

370

665

2405

1182

1070

-----

678

338

470

2440

2440

6334

4699

860

350

468,5

СИОТ-М1-М-10

2410

6383

Циклоны СИОТ-М и СИОТ-М1 – общие сведенья

Циклоны СИОТ-М и СИОТ-М1 применяются для грубой и средней очистки газо-воздушных сред от категорий сухой пыли, которая не содержат большого процента липких и абразивных веществ. Главным образом данные агрегаты используются в тех же областях, как и их предшественник (циклон СИОТ), Циклон СИОТ-М - повышенная эффективностьдля сухой очистки газо-воздушных смесей, которые выделяются во время технологических процессов: сушки, обжига, сжигания топлива, агломерации и пр. Они также эффективно применяются и в очистке аспирационного воздуха в таких промышленных отраслях, как: обработка черной и цветной металлургии, в машиностроении и в нефтепромысле, в энергетике и в изготовлении строительных материалов, а также в химической промышленности и во многих других направлениях, где может быть обосновано применение данных агрегатов. Однако также как и их предшественник, циклоны СИОТ-М и СИОТ-М1 не могут использоваться в условиях взрывоопасных сред, если их для этого ранее специально не оборудовать. Также данные агрегаты не рекомендуется применять для очистки воздушных масс от пыли, которая имеет в своем составе высокий процент липких и абразивных веществ. 

Основным отличием модернизированных моделей от модели старого образца является еще большая эффективность очистки воздуха, которую могут обеспечить данные агрегаты. Циклоны СИОТ-М обозначаются, как агрегаты повышенной эффективности, а циклоны СИОТ-М1 – это агрегаты повышенной эффективности и производительности. В отличие от модели старого образца в эту серию были включены еще три добавочных номера диаметров циклона: 8, 9 и 10. Это стало возможным за счет того, что в модернизированных моделях качество очистки воздуха получило более высокий коэффициент, чем в моделях старого образца, что и позволило расширить их модельный ряд до десяти.

Модернизация не прошла и мимо остальных составляющих элементов системы. Например, был внесен ряд изменений в конструкцию бункера, что значительно упростило процесс изготовления агрегата и его эксплуатацию. Конструкция раскручивателя тоже была упрощена, и вместо винтовой крышки он был изготовлен в виде улитки. По причине того, что коэффициент сопротивления в циклоне раскручиватель которого сделан в виде плоского щита, достаточно высок, было принято решение не включать его в конструкцию модернизированных моделей. Также был увеличен диаметр пылевыпускного отверстия и толщина корпуса с 2 мм до 3 мм, а его высота была уменьшена фактически на 30 процентов.

При подборе циклона стоит обратить внимание на следующее:

  • Место образования и характеристики пыли;
  • Состав пыли по видам и размерам частиц;
  • Объем очистки воздуха м3/ч;
  • Степень насыщенности пылью.

Конструктивное исполнение

Конструктивно данные агрегаты, как и многие другие, изготавливаются из специального не поддающегося коррозийным воздействиям металла черного цвета, однако по желанию заказчика возможно изготовление циклонов из любого другого материала, в том числе и пригодного для эксплуатации во взрывоопасных средах.

В циклонах СИОТ-М между корпусом и бункером устанавливается глухая цилиндрическая вставка, в результате чего искусственно снижается интенсивность вихря в нижней части корпуса и бункере. Как следствие, уменьшается вторичный унос пыли. По сравнению с конструкцией СИОТ общий унос пыли уменьшается в 2 – 2,5 раза.

В циклонах СИОТ-М1 между корпусом и бункером устанавливается вставка закручиватель (как в пылеуловителях ВЗП). Основной запыленный поток входит в верхнюю часть циклона, а дополнительный поток подается в его нижнюю часть.

Данные агрегаты могут изготавливаться, как с правосторонним закручиванием воздушного потока, так и с закручивание левостороннего типа. Циклоны СИОТ-М могут устанавливаться как на стороне всасывания, так и на стороне нагнетания по отношению к вентилятору. Циклоны СИОТ-М1 допустимо устанавливать только на стороне всасывания.

Бункер

Бункер для циклонов СИОТ-М и СИОТ-М1 изготавливается по персональным требованиям заказчика и желаемой периодичностью его очистки. Циклон СИОТ-М1 - повышенная эффективность и производительностьОтфильтрованная пыль собирается и оседает в бункере, поэтому необходимо обеспечивать его регулярную очистку. Выгрузка пыли из накопительного бункера должна обеспечиваться в соответствии с заданной периодичностью очистки. Нельзя допускать, чтоб уровень пыли превышал допустимой нормы, иначе бункер может забиться, что скажется на эффективности всей системы и вызовет снижение ее показателей. Для того чтобы предотвратить подсос воздуха и снижение показателей очистки, бункер герметично приваривается к корпусу циклона. Такая конструкция обеспечивает данным агрегатом достаточно высокие показатели и степень очистки, которая составляет от 83 до 90%. Степень очистки зависит от вида пыли, вентилятора, марки циклона, толщины воздуховодов и тд. Циклоны СИОТ-М и СИОТ-М1 по своей эффективности близки к универсальным циклонам ЦН-15. Сопротивление циклона находится в пределах – 650-1200 Па. Предельное давление – 4800 Па. Скорость газа в воздуховоде находится в пределах – 15-18 м/сек. В соответствии с серией, бункера циклонов могут комплектоваться шиберным затвором или затвором (мигалкой). Циклон СИОТ-М1 дополнительно оборудован притоком воздуха, который находится между бункером и циклоном. Он обеспечивает снижение аэродинамического сопротивления в два раза и увеличивает производительность в 1,5 раз.

На выбор конкретного типоразмера главным образом влияет желаемая производительность системы с учетом рекомендуемых скоростей в круглом сечении входного патрубка, потери давления в циклоне и располагаемого напора вентилятора, по графикам. При скоростях движения потока менее 15 м/сек., снижается эффективность очистки.

При расчете системы аспирации следует обратить внимание на следующие элементы:

  • Длина и ширина зонта на входе воздуха;
  • Скорость движения газа в воздуховоде;
  • Общая протяженность системы;
  • Высота подъема;
  • Марка циклона и вентилятора (давление и пропускная способность).

Циклоны СИОТ-М и СИОТ-М1 монтируется на специальном постаменте (ножки). Данные агрегаты можно размещать, как внутри помещения, так и снаружи. Наша компания осуществляет утепление установки и доочистку фильтрами с возможностью работы замкнутой системой.

Дополнительная информация

Помните, что грамотно сбалансированная система всегда работает эффективнее, поэтому наши специалисты перед оформлением заказа производят все необходимые расчеты и проводят консультацию наших клиентов. Такой подход к делу обеспечивает наших клиентов надежной и долгосрочной техникой.

Мы занимается поставкой вентиляционного и аспирационного оборудования по всей территории стран СНГ, и для нас важно, чтоб люди, которые имеют с нами дело оставались довольными качеством нашего оборудования и обслуживания. Поэтому в сотрудничестве с нами Вы можете рассчитывать на незамедлительную реакцию, кратчайшие сроки изготовления заказа, грамотную бесплатную консультацию в процессе оформления заказа и своевременную доставку в любую точку Украины и любой другой страны из состава СНГ. Мы – производители, поэтому можем исполнить любой спецзаказ за минимальный отрезок времени и по максимально выгодным для Вас ценам. Звоните прямо сейчас и Вы во всем убедитесь сами.

Купить циклоны СИОТ-М и СИОТ-М1  Вы можете в нашей компании

Купить оптимальное оборудование по самым выгодным ценам можно на сайте нашей компании. Наши специалисты максимально быстро обработают Вашу заявку и предоставят всю необходимую информацию, а также окажут помощь при выборе необходимого оборудования, учитывая все пожелания заказчика и специфику помещения.
Заказать звонок
Имя*
Телефон*
Время звонка*
Сообщение
Код с картинки*
CAPTCHA

{cpt_news_short_list news_num='5' overridestyle=''}