Новини, огляди та акції
Новини, огляди та акції
Хомути Korf
|
||||||||||||||||||||||||||||||||||||
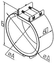
Хомути SKL - сфера застосуванняДля полегшення установки, а також зняття елементів, застосовуваних у круглих вентиляційних системах, використовуються швидкороз'ємні хомути КОРФ. Хомути КОРФ - конструкція
Хомути КОРФ - монтажСтяжка швидкороз'ємних хомутів - за допомогою 2-х болтів Хомути Корф SKL - купитиПридбати хомут КОРФ Ви можете по інтернету, через наш Інтернет-магазин. Тут ви зможете знайти все обладнання, необхідне для систем вентиляції або кондиціонування. Наші фахівці допоможуть Вам визначитися з замовленням і нададуть всю необхідну інформацію. Для зв'язку з ними виберете пункт меню «Контакти». Робота з нами - це гарантія на обрану Вами продукцію, висока якість сервісу, своєчасна доставка товару замовлення. Хомути SKL, габарити
|
||||||||||||||||||||||||||||||||
Новини, огляди та акції
