Новини, огляди та акції
Новини, огляди та акції
Вузол змішувальний Вентс УСВК |
|||||||
|
|
|||||||
|
Модель: |
Діаметр сус., мм: |
З'єднання: |
Діаметр крана: |
Напруга B: |
Напір вузла макс., кПа: |
К-сть швидкостей насоса: |
Маса, кг: |
|
УСВК-3/4-4 |
3/4" |
Різьбове |
DN 20 |
230 |
57 |
3 |
4,1 |
|
УСВК-1-6 |
1'' |
DN 25 |
230 |
57 |
3 |
6,8 |
|
|
УСВК-1 1/4-10 |
1 1/4'' |
DN 32 |
230 |
62 |
3 |
7,4 |
|
|
УСВК-1 1/2-16 |
1 1/2" |
Фланцеве |
DN 40 |
230 |
110 |
3 |
23 |
|
УСВК-2-25 |
2" |
DN 50 |
400 |
115 |
3 |
31 |
|
Змішувальні вузли ВЕНТС (Vents) УСВК - опис
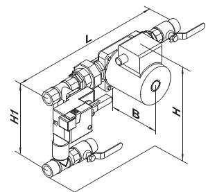
Вузол змішувальний Вентс УСВК Конструкція:Конструкція УСВК Вентс складається з ци ркуляціонного насоса змішувального вузла, який забезпечує безперервний процес циркуляції теплоносія шляхом його проходу через теплообмінник. Безпосередньо перед насосом розташований ходовий кран з електроприводом, який працює таким чином , що змішує два рідинних потоку : воду , що виходить з системи охолодження, і воду, яка вже пройшла системою теплообмінника і повертається назад в нього. Ходовий кран, в цей час, працює таким чином, що змінює пропорції, в яких ці два потоки води змішуються, і регулює їх температуру, перш, ніж поступити в теплообмінник. Габаритні розміри вузлів
Монтаж:Вузли Вентс УСВК необхідно підключати безпосередньо до системи теплообміну вентиляційної установки, використовуючи для цього гнучкі шланги і трубопроводи. У разі, якщо з'єднання елементів проводиться з використанням гнучких шлангів, то змішувальний вузол потрібно жорстко прикріпити жорсткої конструкції (наприклад, до стіні). Встановлюючи змішувальний вузол, вкрай важливо забезпечити осі моторного валу горизонтальне положення. Крім цього, необхідно суворо виключити можливість навантажень механічного характеру на вузол УСВК від трубопроводів, які до нього підключаються. Процес підключення повинен проводитися, виключаючи всякі навантаження, які призводять до пошкоджень механічного характеру, або до порушення герметичності.
Підключаючи трубопроводи, необхідно забезпечити доступ для їх швидкого від'єднання при проведенні планових або ремонтних робіт. Будь-якого роду роботи з електричними з'єднаннями повинні проводитися тільки тими особами , які мають необхідну для цього кваліфікацію і всі потрібні допуски. Перш, ніж підключати насос, потрібно виконати його заземлення. Вкрай важливо виключити будь-яку можливість зіткнення з рухомими частинами вузла. Для насосів, які мають трифазні моделі, потрібно передбачити захист від перевантажень. Допустимий тиск у вузлі складає 10 бар Вентс. Купити змішувальний вузол ВЕНТС (Vents) УСВК за вигідною ціною
На сайті нашої проектно-монтажної компанії Ви маєте унікальну можливість придбати змішувальний вузол торгової марки ВЕНТС (Vents) за найвигіднішими цінами, а також скористатися повним спектром послуг: від проектування до монтажу, пуско-налагодження та обслуговування. Постійним клієнтам передбачені знижки! |
||||||||||||||||||||||||||||||||||||||||||||||
Новини, огляди та акції


